Il sito Technologizer ha stilato un piccolo elenco di brevetti che riportano, tra gli altri, il nome di Steve Jobs come inventore. Ovviamente, il nome di Jobs, compare nella maggior parte dei brevetti depositati da Apple e soprattutto tra i brevetti che tutelano i prodotti più famosi di Cupertino (qualcuno ha detto iPhone, iPod o le varie incarnazioni dei Mac?), ma questi dieci brevetti, nello specifico, riguardano tutti prodotti particolari o, comunque, meno famosi dei “soliti noti”.
Dopo il salto, i primi cinque (strani) brevetti firmati da Jobs.
1. Alimentatori che passione
La cura di Apple per i dettagli è probabilmente uno degli aspetti più importanti per chi apprezza il lavoro svolto in quel di Cupertino; proprio Jobs, considerato il suo carattere e le sue ossessioni, è colui che più di chiunque altro può aver influenzato l’azienda da questo punto di vista. Gli alimentatori dei Mac ne sono un ottimo esempio: compatti e con delle alette laterali per raccogliere i cavi, sono un piccolo fiore all’occhiello dei computer made in Cupertino.
2. “No ti prego, quei bottoni no!”

Una delle manie che vanno annoverate nel profilo di Jobs, riguarda i bottoni: ne aveva già parlato Nick Wingfield del Wall Street Journal in un articolo poco dopo il lancio di iPhone, ma l’idea ci aveva già stuzzicato un po’ tutti. In parte sarà colpa del dolcevita nero (casualmente senza bottoni), e in parte dei soli sei tasti dell’Apple Remote, ma sembra proprio che Jobs non tolleri troppi pulsanti sui propri prodotti.
3. iMac a collo lungo

Gli iMac G4 (più amichevolmente soprannominati “lampadoni”) hanno segnato un’era nel settore dei desktop computer; successivamente, l’arrivo dei nuovi iMac (forse meno incisivi dal punto di vista del design) ha invece seppellito l’idea di un computer “a collo lungo”, con tutto l’hardware separato dal monitor. Il brevetto in questione riporta l’idea base dell’iMac G4, con un braccio che collega il case al monitor, successivamente migliorato (dal punto di vista estetico) prima della commercializzazione.
4. Lo strano caso dell’iCoso

Uno dei brevetti di più difficile intepretazione è questo, relativo ad un device simile all’ iPod senza ghiera cliccabile e equipaggiato, invece, con una sorta di touchstrip. Nessun prodotto Apple, al momento, sembra somigliarli. Tracce di futuro o di un prodotto che non uscirà mai?
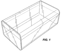
5. Scatole: e brevettiamo pure queste!

Lo ammetto, il brevetto delle scatoline dell’iPod mi mancava. D’accordo che l’occhio vuole la sua parte e che, soprattutto, un buon prodotto deve presentarsi bene, ma mica c’è bisogno di brevettare anche le scatole! Oppure sì?
Le altre 5 posizioni, ve le sveliamo nella seconda parte.
Diciamo che sono un po’ maniaci :P comunque le scatole di iPhone/iPod sono davvero spettacolari
Quanto vorrei un iCoso : D
Attendo con ansia la seconda parte : )
l’ iCoso assomiglia ad un lettore mp3 senza brand
Già dalla quarta posizione, con l’iCoso e le confezioni dell’iPod si inizia a degenerare: nella seconda parte cosa dovremo aspettarci? Il brevetto del tasto Mela?
@ g:
Beh, senza svelare troppo, diciamo che nella seconda parte ci sono un paio di brevetti piuttosto “anomali” per usare un eufemismo :)
l’iCoso mi ricorda un lettore mp3 già in commercio, non so di quale marca.
Il packaging Apple è parte dell’esperienza mistica che segue l’acquisto di un prodotto del brand della mela, è talmente curato e studiato che mi sembra giusto che venga brevettato, del resto è giusto che apple tuteli la proprietà intellettuale, già così viene copiata e stracopiata…
In passato comunque vennero brevettate cose mai utilizzate (tipo l’iPod, che non è il lettore che tutti conosciamo ma il chioschetto-postazione internet), quindi chissà che l’iCoso non sia una di quelle..
Non vedo l’ora di leggere la seconda parte.
Bravissimo Gabriele, ottimo post!
merlotibetano dice:
Ti riferirai sicuramente al Creative. Probabilmente la apple ha brevettato questa roba solo per contrastare in qualche modo i cloni di iPod.
http://www.spaziocellulare.com/ispazio/2009/06/03/una-nuova-immagine-per-il-prossimo-modello-di-iphone-sara-vera/
be scusate…io metterei al primo posto il brevetto della scatola…aprire il mio mac book pro, vari ipod e iphone è sempre stato una figata…
Troppo troppo avanti! Conservo gelosamente ogni scatola dei prodotti apple!
@ Valerio:
Grazie!
@ richsanto:
Non si tratta di una classifica ma di un elenco; comunque aspetta di vedere la seconda parte e poi vediamo se sarà solo la scatola a meritarsi il tuo primo posto ;)
IO TIFO LA SCATOLA!!!
domani vado al negozio e mi compro 2 scatole vuote!
io purtroppo ho vendere il mio ipod touch di 1° generazione, ma la scatola, modello iphone è troppo bella.
ok è bella anke quella nuova, ma mi sa troppo di plasticozzo, preferivo molto quella precedente!!!